BMW Electric Motorcycle Patent Leaks
BMW has filed a patent for an electrically supercharged S1000RR motorbike that could be the most powerful superbike

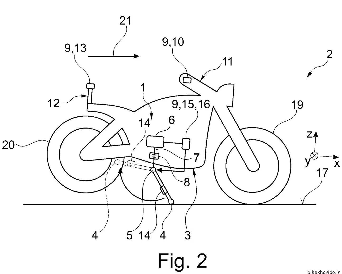
BMW Motor rad has filed a patent application for an electric motorbike, and going by the illustration, it could be based on the G 310 R streetfighter.
The patent showcases a naked bike with a mid-mounted motor and a battery pack placed diagonally where the conventional engine would be. This position of the battery pack should also assist with the cooling of the same.
BMW launches its first electric motorcycle then TVS could follow with its own version. Last year, TVS MD Sudarshan Venu had stated that they’re collaborating with their German partner for developing a sub-15kW electric motorcycle.

You may like it : Royal Enfield ‘blacks out’ 650 twins with new 2023 colors
BMW G310R electric motorcycle patent leaks
Patent images reveal that whereas the design is largely the same as G310R, powertrain elements such as battery pack, motor and different tools have been borrowed from CE-04.
Nonetheless, that’s not as straightforward because it appears, since components on the CE-04 are largely spread out horizontally. Furthermore, CE-04 has comparatively extra space for the inner elements.
To fit in everything within the G310R framework, BMW has carried out quite a lot of tweaks. The battery pack has been placed vertically, at an angle. It’s positioned under the front section of the bike, the place most ICE-based bikes have their radiators.
As a significant percentage of the battery’s surface area will get direct air, it can assist cool the battery pack.
Placement of the motor is beneath the seat and it’s done at a 90° angle. This manner, the shaft runs longitudinally, instead of being positioned throughout the bike. The shaft can be tilted at an angle, which permits for a shorter, taller package.
It connects to a bevel gear that transfers energy to the front sprocket. This setup works like a reduction gearbox, rising torque and gearing down the rotational speed of the motor. Lastly, a belt ultimate drive connects to a large rear sprocket, which once more is a type of reduction.
Different elements that seem like borrowed from CE-04 include the ECU and charger. The ECU is placed beneath the bike’s stomach. As a lot of the middle part of the bike is jam-packed, the one storage space available is the place the fuel tank is.
Hopefully, this space will be giant sufficient to accommodate at the very least a half-face helmet. It is also used to store the charger.
You may like it : RE Himalayan 450 Spied In Ladakh

You May like it : Best Scooter for Men
BMW G310R electric performance
Assuming BMW G310R electric borrows the battery pack and motor from CE-04 in the identical format, it could possibly be making 42 hp of max power and 62 Nm of peak torque.
These numbers are significantly better than ICE-powered G310R that makes 34 hp and 28 Nm. Contemplating the price of the battery pack and different elements, BMW G310R electric motorbike will likely be costlier than its ICE counterpart.
The CE 04 features a 15kW liquid-cooled motor and can achieve a top speed of 120kmph. It is paired to an 8.5kWh battery pack offering a claimed range of 130km.
In US, BMW CE-04 is out there at a beginning worth of $11,795 (approx. INR 9.76 lakh). TVS model could possibly be much cheaper though.
Disclaimer – Design renders presented in this weblog are solely for illustrative purposes and have not been commissioned, approved, or endorsed by the manufacturer.
You May like it : 2023 Honda ADV 160cc Scooter
BMW Electric Motorcycle Patent Leaks
BMW has filed a patent for an electrically supercharged S1000RR motorbike that could be the most powerful superbike

BMW Motor rad has filed a patent application for an electric motorbike, and going by the illustration, it could be based on the G 310 R streetfighter.
The patent showcases a naked bike with a mid-mounted motor and a battery pack placed diagonally where the conventional engine would be. This position of the battery pack should also assist with the cooling of the same.
BMW launches its first electric motorcycle then TVS could follow with its own version. Last year, TVS MD Sudarshan Venu had stated that they’re collaborating with their German partner for developing a sub-15kW electric motorcycle.

You may like it : Royal Enfield ‘blacks out’ 650 twins with new 2023 colors
BMW G310R electric motorcycle patent leaks
Patent images reveal that whereas the design is largely the same as G310R, powertrain elements such as battery pack, motor and different tools have been borrowed from CE-04.
Nonetheless, that’s not as straightforward because it appears, since components on the CE-04 are largely spread out horizontally. Furthermore, CE-04 has comparatively extra space for the inner elements.
To fit in everything within the G310R framework, BMW has carried out quite a lot of tweaks. The battery pack has been placed vertically, at an angle. It’s positioned under the front section of the bike, the place most ICE-based bikes have their radiators.
As a significant percentage of the battery’s surface area will get direct air, it can assist cool the battery pack.
Placement of the motor is beneath the seat and it’s done at a 90° angle. This manner, the shaft runs longitudinally, instead of being positioned throughout the bike. The shaft can be tilted at an angle, which permits for a shorter, taller package.
It connects to a bevel gear that transfers energy to the front sprocket. This setup works like a reduction gearbox, rising torque and gearing down the rotational speed of the motor. Lastly, a belt ultimate drive connects to a large rear sprocket, which once more is a type of reduction.
Different elements that seem like borrowed from CE-04 include the ECU and charger. The ECU is placed beneath the bike’s stomach. As a lot of the middle part of the bike is jam-packed, the one storage space available is the place the fuel tank is.
Hopefully, this space will be giant sufficient to accommodate at the very least a half-face helmet. It is also used to store the charger.
You may like it : RE Himalayan 450 Spied In Ladakh

You May like it : Best Scooter for Men
BMW G310R electric performance
Assuming BMW G310R electric borrows the battery pack and motor from CE-04 in the identical format, it could possibly be making 42 hp of max power and 62 Nm of peak torque.
These numbers are significantly better than ICE-powered G310R that makes 34 hp and 28 Nm. Contemplating the price of the battery pack and different elements, BMW G310R electric motorbike will likely be costlier than its ICE counterpart.
The CE 04 features a 15kW liquid-cooled motor and can achieve a top speed of 120kmph. It is paired to an 8.5kWh battery pack offering a claimed range of 130km.
In US, BMW CE-04 is out there at a beginning worth of $11,795 (approx. INR 9.76 lakh). TVS model could possibly be much cheaper though.
Disclaimer – Design renders presented in this weblog are solely for illustrative purposes and have not been commissioned, approved, or endorsed by the manufacturer.
You May like it : 2023 Honda ADV 160cc Scooter

